Butter making is the core mechanical stage of butter production, where prepared cream is converted into butter and conditioned for downstream handling. This stage combines multiple interconnected process functions that support continuous operation, controlled product properties (texture, moisture distribution, temperature), and stable integration with downstream equipment such as buffering, pumps, and packaging machines.
Butter making can be implemented using different production concepts, including batch butter churns (BC) and continuous butter making systems (BMM). To support different plant layouts and project scopes, FASA supplies modular butter processing solutions for both batch and continuous production. These solutions can be delivered either as complete butter processing lines or as individual equipment modules, depending on the customer’s scope boundaries and responsibility split.
The following 6 sections focus mainly on continuous butter production, as it is most common in industrial-scale operations and provides stable integration with downstream handling, buffering, and packaging.
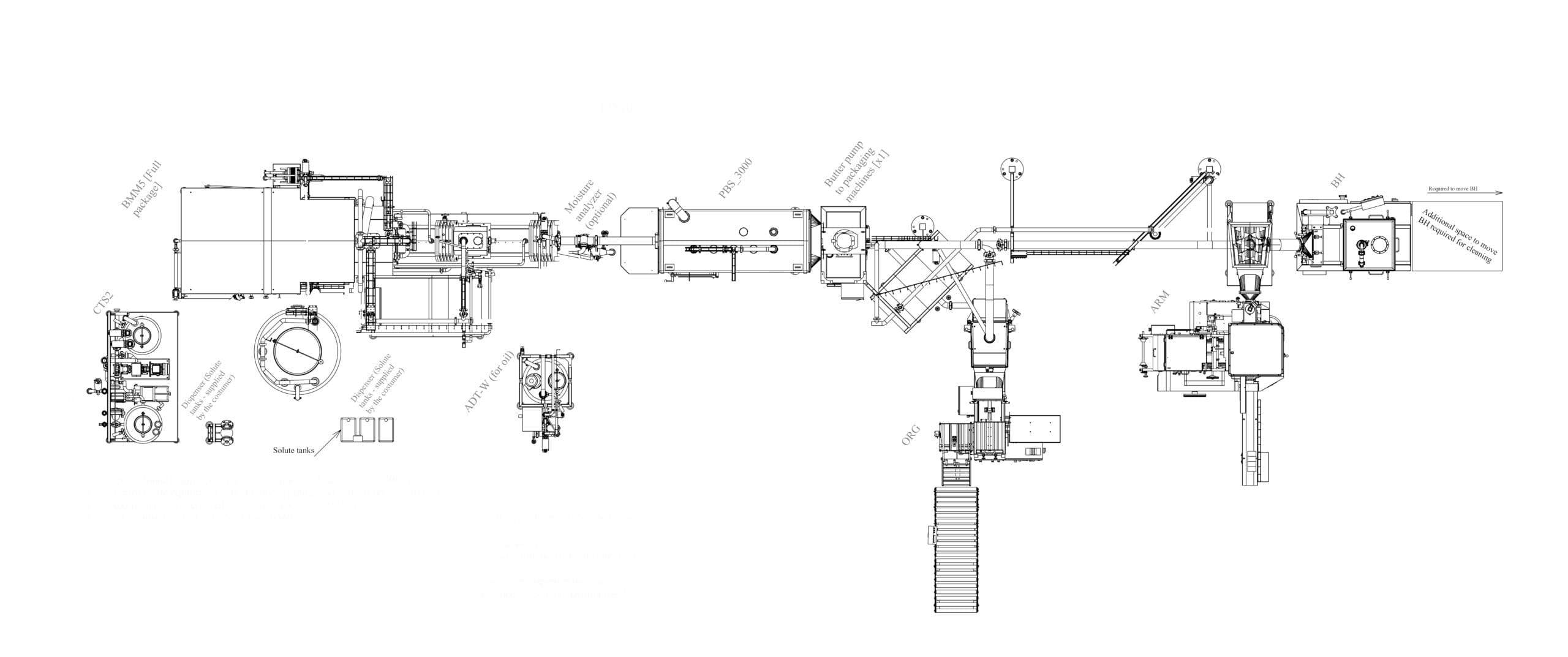
1 – Continuous Butter Making (BMM – Butter Making Machine)
What happens
In continuous butter making, prepared cream is processed in a mechanical system where butter formation, buttermilk separation, and butter working occur as a single uninterrupted operation. This enables stable processing at industrial throughput while maintaining consistent product behavior through downstream stages.
As cream enters the butter making machine, mechanical agitation initiates phase inversion (beating), leading to the formation of butter grains. During this process, liquid buttermilk is separated from the forming butter mass and continuously removed, supporting consistent fat balance and steady machine operation.
To support butter formation and texture control, integrated cooling sections are applied throughout the butter making machine. Cooling is typically used:
In the initial separation section
During butter grain recovery (via returning chilled buttermilk)
In the first and second working sections
These cooling zones reduce product temperature during butter formation and working, improving handling stability and reducing temperature-driven variability.
A dedicated butter grain recovery system supports effective separation and collection of butter grains. This contributes to stable continuous operation, helps reduce fat losses in the buttermilk stream, and improves overall process efficiency.
During the working stages, the butter structure is consolidated and moisture is distributed throughout the butter mass. Moisture balance is achieved through controlled addition of water using an integrated water dosing system included in the butter making machine. Where applied, vacuum may be used during kneading to reduce entrained air, supporting improved product structure for downstream handling and packaging.
Stable butter transport through the working sections requires reliable non-stick internal surface behavior. This is achieved through a combination of surface treatments and appropriate cleaning-in-place (CIP) procedures. Regular CIP using alkaline cleaning agents with silicate content supports the formation and renewal of non-adhesive surface conditions, enabling smooth butter flow and reducing product build-up inside the machine.
Equipment and layout
The butter making machine is a multi-functional unit integrating key process sections, typically including:
Cream intake
Beating
Separation and buttermilk discharge
Butter grain recovery
Working sections (kneading/working)
Optional vacuum chamber
Moisture balancing (water dosing)
Integrated cooling elements
Selected internal surfaces are treated with roughened (corundum-treated) finishes. These surfaces support effective butter working, but they rely on correct CIP practices to maintain non-stick operating conditions and prevent adhesion during continuous production.
The machine includes provisions for introducing water and (where permitted) additives into the working sections. This supports flexible integration with downstream dosing and mixing concepts, depending on product recipe requirements.
The BMM is equipped with a dedicated buttermilk discharge pump:
During production, the pump transfers separated buttermilk to the customer’s buttermilk handling system.
During CIP, the same pump circulates cleaning media through the butter making machine and connected piping, allowing the butter processing circuit to be cleaned according to a defined CIP sequence.
In the line layout, the butter making machine is installed downstream of cream tempering and upstream of buffering or conditioning equipment, forming the core module in a continuous butter production line.
To address these requirements, FASA offers continuous butter making machines (BMM) designed for integration into complete butter production lines or as standalone core units in customer-defined processing concepts.
Controls and QA
Monitoring at this stage focuses on:
Stable mechanical operation of the BMM
Continuous product flow through the machine
Reliable buttermilk separation performance
Butter grain recovery effectiveness
Hygienic operation and CIP execution
Product recipes, moisture targets, processing strategy, vacuum application, CIP concept, and quality specifications remain defined by the producer’s technology and QA system.
Common pitfalls
Unstable cream inlet conditions, insufficient cooling capacity, or interruptions in product/by-product flows can reduce butter making stability and overall line performance. Because continuous butter production depends on uninterrupted operation across stages, limited buffering or downstream disturbances can propagate upstream and disturb butter formation.
Limited laboratory feedback and/or missing in-line moisture measurement may reduce the ability to monitor and respond to variation during continuous production. Attempts to compensate for deviations primarily by increasing water addition—rather than stabilizing butter formation and separation—can negatively affect product consistency and process stability.
Insufficient or poorly maintained CIP procedures (wrong alkaline chemistry, low silicate support, infrequent renewal of cleaning media) can prevent effective non-stick surface behavior. This increases butter adhesion, promotes build-up in working sections, and can trigger instability or stoppages during continuous operation.
2 – In-Line Mixing (IMS – In-line Mixing System)
What happens
An in-line mixing system is used in continuous butter production when additional permitted components are introduced into the butter stream. These components are added upstream of the mixer and incorporated without interrupting continuous processing.
Fully prepared additives are supplied continuously to the butter stream via dedicated connection points using suitable dosing equipment. Additives are typically introduced through an injector, enabling controlled, continuous addition prior to mixing. The in-line mixer then applies mechanical mixing energy to distribute the introduced components uniformly throughout the butter mass.
This stage supports consistent product structure and homogeneous additive incorporation, while maintaining uninterrupted butter flow from the butter making machine to downstream stages such as analysis, buffering, and packaging.
Equipment and layout
The in-line mixing system is installed downstream of the butter making machine and additive injection points, and upstream of moisture measurement and buffering.
The mixer is designed to handle fully formed butter containing added components under continuous operation. Internal geometry and mixing elements are selected to provide repeatable performance across the defined capacity range. Where required, bypass arrangements can allow production without mixing when formulations do not require additive incorporation.
Selected product-contact surfaces may use corundum-treated finishes, supporting stable butter transport and reducing adhesion risk when combined with appropriate CIP procedures.
To address these requirements, FASA supplies IMS solutions (with an appropriate number of in-line mixers) for integration into complete butter production lines or as modular standalone units.
Controls and QA
Monitoring focuses on:
Stable butter flow through the mixer
Consistent mechanical mixing conditions
Reliable incorporation of additives supplied upstream
Additive preparation, dosing rates, and product quality targets remain defined by the producer’s technology and quality system.
Common pitfalls
Poor coordination between dosing, injector function, and mixer capacity—combined with unstable upstream/downstream flow—can lead to incomplete distribution and reduced product uniformity. Since mixing generates heat, excessive mixing intensity or high residence time can increase butter temperature and affect downstream handling and packaging stability. Inadequate CIP may increase adhesion and reduce mixing performance over time.
3 – Dosing Systems (ADT-W, ADT-S, ADT-P, ADT-D, ADT-SC, ADT-C)
What happens
Dosing systems provide continuous and accurate supply of fully prepared additives into the butter stream during continuous production. Depending on recipe and product type, additives may include:
Water-based phases (including oil)
Slurry solutions
Paste-type ingredients
Dry components and salt crystals
Dry additives and cultures
Each dosing system receives a prepared additive from upstream preparation/storage and delivers it at a controlled, stable flow rate. In most configurations, additives are injected upstream of the In-Line Mixing System (IMS) so they can be uniformly incorporated into the butter matrix.
Depending on additive type and line design, some components—especially dry phases and salt crystals—may alternatively be introduced at dedicated dosing points associated with the buffering stage.
Dosing systems operate continuously at setpoints defined by the operator. Dosing rates are adjusted based on product targets, process behavior, and operational feedback. Accurate dosing supports consistent additive incorporation and reliable downstream mixing.
Equipment and layout
Auxiliary dosing tanks (ADT) are designed to handle various additive forms and dosing principles, including:
Pumped liquid dosing
Slurry dosing systems
Paste dosing units
Vibration-assisted feeders
Screw-based dosing mechanisms
Other suitable feeding/conveying solutions
Each dosing unit connects to the process line via dedicated interfaces and introduces additives at defined points according to the processing concept. Most dosing points are placed upstream of IMS, while some dry/salt additions may be placed near buffering (PBS) depending on the product and handling strategy.
FASA offers a comprehensive range of dosing solutions that can be integrated into complete butter processing lines or supplied as individual dosing modules within customer-defined technical boundaries.
Controls and QA
Monitoring focuses on stable and repeatable additive supply:
Dosing continuity
Additive availability and condition
Stable operating conditions of the dosing equipment
The dosing systems do not define recipes themselves—final formulation, additive composition, dosing strategy, and quality targets remain producer-defined. Downstream verification can be supported through sampling points and/or moisture/composition analysis.
Common pitfalls
Unstable additive preparation, inconsistent viscosity/temperature, or interruptions in dosing continuity can cause dosing inaccuracies and downstream mixing issues. If dosing capacity and IMS mixing capacity are not aligned with line throughput, uneven distribution or process instability may occur.
Because dosing and mixing operate continuously, slow operator response, insufficient buffering, or frequent interruptions can propagate through the line and increase product variability or losses. Over-reliance on downstream correction rather than stabilizing the dosing and butter flow at the source increases operational risk.
4 – In-line analyzers: moisture and other parameters measurement and monitoring
What happens
In continuous butter production, in-line analyzers provide real-time measurement of key product parameters. Depending on technology and application, this can include:
Moisture content
Fat content
Salt content
Solids-Not-Fat (SNF) and other composition indicators
These measurements improve transparency and help producers control consistency during continuous operation. Results are available to operators, enabling observation of trends, evaluation of process behavior, and corrective actions toward defined target ranges while observing immediate feedback from the process.
Equipment and layout
In-line analyzers are typically installed downstream of butter making, mixing, and dosing, where the butter matrix is fully formed and representative of final composition.
Analyzer systems are typically integrated via qualified third-party suppliers. Integration focuses on hygienic installation, stable sample presentation, reliable signal capture, and compatibility with overall line layout and monitoring systems.
FASA supports integration of in-line analysis solutions as part of complete butter production lines by coordinating mechanical and control interfaces with approved analyzer suppliers.
Controls and QA
Monitoring focuses on:
Signal stability and measurement reliability
Continuous data availability for QA and production supervision
Interpretation of data, target values, acceptance criteria, and corrective action rules remain defined by the producer.
Common pitfalls
Incorrect sensor placement, poor calibration routines, or weak integration into monitoring systems can reduce effectiveness. Limited understanding of measurement variability—or lack of verification against lab results—can reduce confidence in analyzer feedback and delay response to product variation.
5 – Butter Buffering and Intermediate Storage (PBS – Product Buffer Silo)
What happens
After butter making, mixing, dosing, and verification, butter may be routed to a buffering stage before packaging. Buffering provides temporary storage during production and enables decoupling between upstream continuous processing and downstream packaging.
By accumulating butter under stable conditions, the buffer silo allows upstream processing to continue during short downstream disturbances, capacity fluctuations, or changeovers. This supports stable continuous operation and helps prevent unnecessary upstream interruptions.
Equipment and layout
Butter buffering is performed using a product buffer silo designed for butter handling in continuous production. The silo is installed downstream of mixing/dosing/analyzing and upstream of packaging equipment.
The silo receives butter continuously and discharges it in a stable, predictable manner to downstream handling and packaging. Internal conveying elements provide gentle product handling and consistent butter flow toward the discharge system. The design follows hygienic principles and supports integration into the full butter processing line.
Selected internal surfaces may use corundum-treated finishes. Combined with proper CIP procedures using silicate-containing detergents, these surfaces support non-stick conditions, reduce adhesion and build-up, and improve discharge stability.
Controls and QA
The buffer silo receives butter continuously through a dedicated inlet connection (typically without active inlet control). Internal conveying elements transfer the product to the discharge point. The silo functions as a controlled accumulation volume integrated into overall line layout and packaging concept.
Common pitfalls
Too little buffer capacity reduces flexibility and increases risk of upstream interruptions. However, oversized buffering or prolonged residence time—especially with intensive internal conveying—can overwork the butter, increase temperature, and reduce handling stability. Buffer size and internal design should be selected to match the required line balance.
Inadequate CIP procedures or poor maintenance of silicate-supported non-stick conditions may cause adhesion and build-up, reducing discharge stability and increasing the likelihood of stoppages.
6 – Butter Pumps and Product Transfer
What happens
Butter pumps transfer butter between process stages and toward packaging in continuous butter production. Pumping ensures butter can be conveyed through downstream equipment (mixers, dosing interfaces) and that pipeline resistance between buffer silos and packaging machines can be reliably overcome.
Equipment and layout
Pump placement and configuration depend on the overall line layout and packaging design. Common concepts include:
A pump downstream of the butter making machine to move butter through mixing/dosing/analysis toward the buffer silo
Downstream of the buffer silo:
Direct-feed packaging machines (no internal buffer): typically one dedicated pump per machine for stable independent supply
Packaging machines with internal buffer volume: fewer pumps may be possible if engineering allows controlled, independent adjustment of flow rates without disturbing upstream operation
FASA does not manufacture butter pumps, but suitable pump solutions can be integrated via qualified third-party suppliers. Integration focuses on hygienic design, correct pump selection for butter rheology, and stable interaction with upstream/downstream equipment.
We support pump integration as part of complete butter processing lines, ensuring pump configuration, placement, and capacity match overall process flow and packaging strategy.
Controls and QA
Monitoring focuses on stable product transfer and consistent flow behavior throughout the line, supporting line balance and continuous operation.
Common pitfalls
Incorrect pump selection, unstable packaging demand, or insufficient separation between upstream processing and packaging can disturb line balance. Inadequate pump configuration downstream of the buffer silo—such as too few pumps for direct-feed packaging machines or limited ability to adjust individual flow rates—may cause uneven product distribution, forced interruptions, and reduced operational flexibility.
Handoff to Packaging
Following continuous butter making, additive incorporation (where applied), product verification, and buffering, butter is transferred to packaging equipment. At this point, the butter processing scope is complete, and product transfer toward packaging is handled via dedicated pump arrangements aligned with the packaging line configuration.









